La Tombe TT59
Article mis en ligne le 4 avril 2018
dernière modification le 24 mars 2018

La tombe thébaine TT 59 est située à Cheikh Abd el-Gournah, dans la nécropole thébaine, sur la rive ouest du Nil, face à Louxor en Égypte.

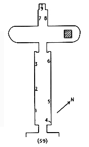
Plan de la tombe

C’est la sépulture de Qen, premier prophète de Mout [1].